

|
||||||||||||||||||||||||||||||||||||||||||||||||||||||||||||||||||||||||||||||||||||||||||||||||||||||||||||||||||||||||||||||
|
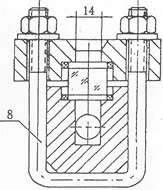
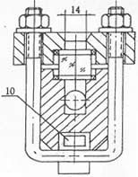
產品介紹 SZ-UB系列玻璃板液位計可用來直接指示密封容器中的液位高度,具有結構簡單,直觀可靠,經久耐用等優點,但容器中的介質必須是與鋼、鋼紙及石墨壓環不起腐蝕作用的。適用于化工、石油等工業低溫設備的液位指示裝置。 一、SZ-UB玻璃板液位計--產品結構: 儀表的上下閥上裝有法蘭接頭,與容器連接構聯通器,透過玻璃板直接指示容器布什的液位,“夾套型”設有加熱或冷卻裝置。該裝置加熱時可用蒸氣,冷卻時可用循環水,這樣可以調節流動性能,夾套型接管尺寸ZG1/4內螺紋。在上下閥內裝有鋼球,當玻璃板因意外事故破壞時,鋼球在容器壓力作用下,自動密封,防止容器內的液體繼續外流。在儀表的上端針形閥裝有阻塞螺釘,可供放氣之用,下端針形閥也裝有阻塞螺釘。可供放空、取樣、排污、清洗。 二、SZ-UB玻璃板液位計--技術數據: 1、針形閥的自動關閉壓力 ≥0.2MPa 2、夾套蒸氣壓力為 ≤0.6MPa 3、玻璃板的急變溫差為 ≤240℃ 注:我廠承接特殊規格的定貨。 三、SZ-UB玻璃板液位計--產品類型:
安裝、使用與維護 1、為了保證自動密超過計劃作用,容器內的介質壓力不得小于0.2MPa,在打開上下閥時,閥桿退出轉數不少于4轉(使鋼球封門時,不致于碰到閥桿的頂端)。 2、使用中的儀表應定期檢查。清洗玻璃板內外壁污垢,使液位顯示清晰。 3、檢修裝配玻璃板在旋緊螺栓時,要密切注意玻璃板受力不均而破碎。因此,螺栓須嚴格按圖示1、2、3┈┈┈10、11、12順序交叉地分多次夾緊玻璃板。 | ||||||||||||||||||||||||||||||||||||||||||||||||||||||||||||||||||||||||||||||||||||||||||||||||||||||||||||||||||||||||||||||
相關產品 |
||||||||||||||||||||||||||||||||||||||||||||||||||||||||||||||||||||||||||||||||||||||||||||||||||||||||||||||||||||||||||||||